图知网
搜索
首页
热门推荐
图片分类
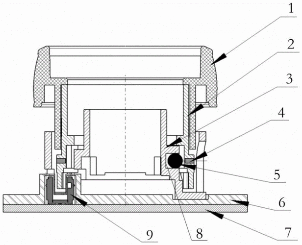
旋转开关结构 示意图如图7-11 所示.(1)互锁 (2)自锁 (3)联动
下载原图
相关图片
cn110383204a_旋钮结构,调焦旋钮,遥控器及云台
一种旋钮开关的制作方法
一分钟图解旋转开关原理
22mm旋钮开关二档三档自复位自锁短柄长柄金属头选择开关按钮开关
按钮开关ppt
cn107910220b_一种组合式旋钮拨杆开关装置有效
为你推荐
《春光乍泄》:梁朝伟
赵薇与刘烨比眼大含情脉脉长时间对看图
迪丽热巴
三格拼接壁纸
抖音图文来了 #2021掰掰2022想开 全球最美面孔迪丽 - 抖音
bm炸炸炸炸炸姐
漫画风女侧脸头像94 哈喽亲们~ 这次给大家带来的是超美的漫画风女
北美山猫-亮眼睛