张艺兴

相关图片

张艺兴饭绘

张艺兴

张艺兴漫画

张艺兴[超话]

lay 张艺兴 蕾伊 小甜 小绵羊

随机推荐

soogifsoogif出品黄渤笑摇头gif动图_动态图_表情包下载_soogif

郑爽和张翰还有可能和好吗两人恋爱了几年

刘德华

生活顺利!#易烊千玺 #手写 #宝藏男孩 #千 - 抖音

在吗我想揍你表情图片搞笑图片表情

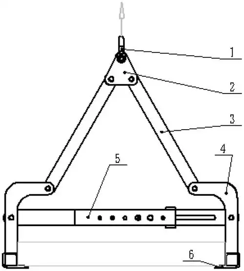
一种自紧式吊装装置-爱企查

动物简笔画图片大全

日本mikimoto御木本akoya珍珠项链瓜子扣吊坠款白金黄金 北京现货